Messtaster T161 / T162 - Übersicht
Mahr kompatibel, ±2 mm Messhub
| Typ / Beschreibung | Zeichnung |
|---|---|
|
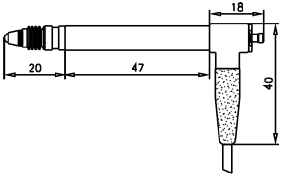
T161F / T162F
» Technische Daten |
![]() ![]() |
|
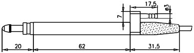
T161V / T162V
» Technische Daten |
![]() ![]() |
|
T161P / T162P
» Technische Daten |
![]() ![]() |
|
T161L / T162L
» Technische Daten |
![]() ![]() |







